您也可以在下面给我们留言,我们将热忱为您服务!
旋转电磁挂梁桥式起重机产品介绍:
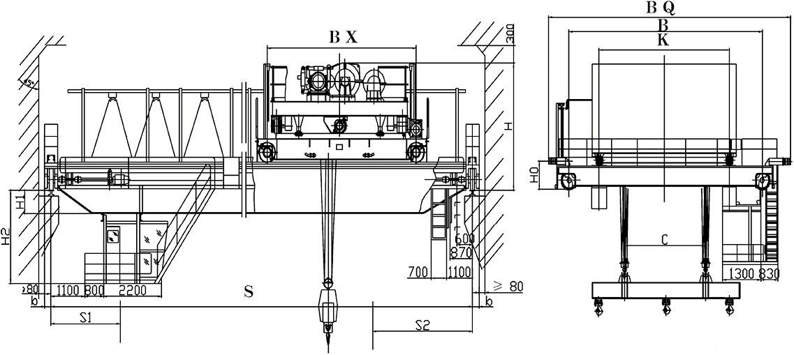
QX型旋转电磁挂梁桥式起重机有可旋转挂梁,适用于钢厂、堆场和仓储等室内或露天的固定跨间,装卸及搬运钢板、型钢、盘卷等物料。**适用于吊运不同规格且需水平旋转的场合。挂梁下可以携带电磁吸盘、夹钳等专用吊具。
可伸缩挂梁能够根据所吊物料的规格(不同厚度、长度、张数等)和重量,电动调整电磁铁间距及无级调节电磁铁磁力。根据用户要求可提供:各机构的调速(1:10或更大)、载及报警、遥控、PLC控制及故障检测、显示、记录和打印系统等。
1、进入司机室的走台方式分为:端入、侧入、顶入。
2、起重量包含挂梁及专用吊具自重;
3、挂梁*大旋转角度可按用户要求;
4、以上数据为室内使用时;
5、参数表中起重机总功率为行车本体功率,不含专用吊具功率。
上旋转电磁挂梁桥式起重机结构图:


从售前到售后,我们将不遗余力为您提供整体解决方案和一站式服务
您也可以在下面给我们留言,我们将热忱为您服务!